全文有10000+字,你能耐心看完就成功了一半!
现在的社会,如果你没钱,没势,没背景,没学历,又不想认命,那我建议你在互联网闯一闯,因为互联网机会是公平的,做互联网的没有穷人,只有懒人,只要选对方向,执行力强一点,你的人生都会像开挂了一样,对此我深有体会。
现实生活中的情况是,很多人辛辛苦苦一辈子,最后仍然生活在社会的底层(能不打工就尽量不要去打工,打一辈子的工,你打了个啥?打了个车贷,打了个房贷,打了个职业病,还把自己打好的青春年华全给搭进去了,老板看你不顺眼,骂你几句,你哼唧都不敢哼唧一声,然后领导盯着你干活,你就像做贼似的做事,做少了会骂你,做多了工资还不给你加,用到你的时候给你点窝囊钱,用不到你的时候一脚给你踹老远。)
普通人不赌不拼可以说是没有丝毫机会,总有一代人要去拼,你不拼,你的下一代就要去拼,那么互联网可以说是我们普通人翻身的最好机会!
如果你不想认命,想拥有一份长期事业或副业,想收入翻5倍10倍甚至更多,那么这篇文章你一定要仔细看完,因为会彻颠覆你对互联网搞米的认知,从这一刻起有可能会改变你的民运,乾坤未定,你我皆是黑马,趁年轻,趁还有机会,多奋斗把,干才有希望,不干一点希望都没有,加油,兄弟们!!!
大家好,我是亮剑,一个90年的实体+互联网创业者,混迹互联网搞项目也有7年了,刚毕业出来工作了2年就开始自己的第一份创业【跨境电商】正好也踩中了红利的小尾巴,曾经也做到公司人数规模50+,随着后面各种环境因素导致不断缩减实体产业,可以说我在实体行业也算是一个失败者!但是收获和经验可以说是无穷大的。
跟大家一样,我曾经也是互联网小白,甚至由于传统行业的思想导致,基本看不上所谓的一些互联网项目,自己对互联网项目的认知低,无法分辨互联网项目存在的潜力,偶然一次机会与朋友聊到一个项目由于公司实体项目不景气决定尝试扩展新行业,最终踩了许多坑,也拿到了一定的结果,对自己也是一种成长。
今天,我将分享自己互联网的经历以及心得,希望能给大家带来一定的帮助与启发。
23年年底在朋友口中了解到一个项目【短剧推广】,我跟大家一样,刚听到这个项目的时候并没有做过多的了解,第一反应就是割韭菜的。
因为当时这个项目确实太容易赚钱,会给一人一种错觉,所以我就自己先去尝试了一下,花了不到一个小时的时间学习完成并且开始去实际操作,仅仅是发了3条短剧视频第二天就赚了200+,后面熟悉我的小伙伴都知道,任何项目我都能快速的学习掌握以及拿到结果,于是大家戏称我为 “互联网圣体”。
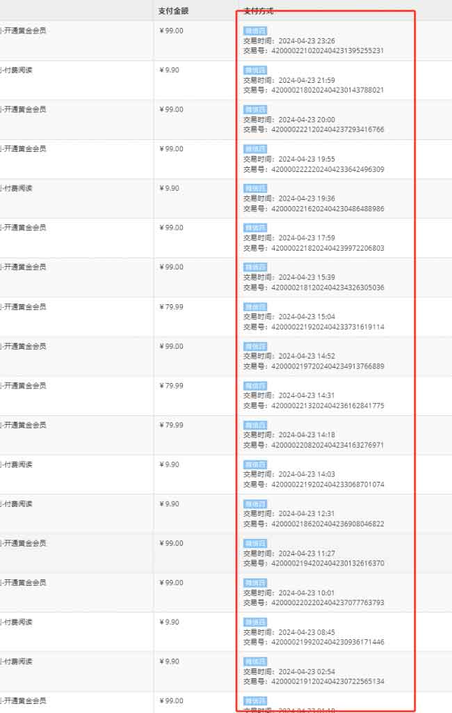
前前后后自己测试了3个月取得了一点小成就,觉得项目前景以及模式可行,说干就干,得力于我实体的一些资源,24年2月份开始正式的招募一些小伙伴免费带着他们去做短剧推广,秉持着真心换真心的原则 没有收过一分钱学费,从0-1开始教学,大家可以看看下方的截图,日入上千的大有人在。
也给我赚到了不亚于实体收益的一桶金,我想说我也是一个很幸运的人,我也相信我是幸运的人,看到这里的小伙伴们,相信自己,你们也是很努力的,努力就会幸运。
所以当时应该不仅仅是我甚至给许多小伙伴带来了震惊!
仅仅通过一部手机,一天1小时,就能取得正常打工人半个月甚至一个月的劳动成果,确实也让我意识到了互联网的爆发力以及潜力!
于是互联网让我看到了惊喜,那我就决定使劲的往里干,拿出100%的执行力,去把互联网给做好,要做就要做强,于是短短的2个月时间,我的团队人数已经发展了将近2w人,截止到目前3w+。
当然,凡事都有两面性,有好也有坏,团队规模越来越大,各种各样的人都有,有乐于学习,执行力强的。
当然更多的是不愿意学习,因为毕竟没有花钱,免费还能赚钱的事情多少人愿意相信呢?免费带人还不要任何辛苦费的又有多少人呢?
没有执行力的这部分人整体抱怨搞心态,发一个视频没收益就开始叽叽歪歪,这里我回想起来当时真的是想骂骂这类人,你想赚钱,又不愿意学习执行,而且我还是免费教,当时做到这么多人的情况下都是有问必答,结果换来部分人的搞心态。
随着时间的推移,越来越多的人做短剧这个赛道了,平台管控也越来越严格,我们不断的测试新的玩法,甚至免费教授原创课程,我的合伙人每天晚上都开直播,拿到结果的人也有,但更多的是浪费时间和精力,原因多半还是在于执行力,执行力在于什么,在于对收益的渴望和对某些东西的羁绊,例如说我花了1000块钱买的课程,我硬着头皮我也要看完,我免费得来的,我想珍惜就珍惜我不想学就不学,所以慢慢我们也明白这不是一个长久之计,不是每个人都适合在互联网赛道走下去的。
在抖音短剧慢慢淡出的时候,我们把方向转向了另外一个平台【小红书】,经过实测,三个小红书号一个星期内赚了将近5000块钱,只是发了视频而已(类似于视频号转化过程),一有收获我们就准备在原来的接近万人的30多个群中分享这个玩法,但是转念一想,辛苦测试得来且效果极佳的项目不能再浪费了,一定是要分享给愿意去执行的人,之后就建立的一个专门的小红书社群,挑选出了300多位感兴趣的小伙伴,当然即使是万人中挑选出来也都是有积极者有心态差的,前期非常多的小伙伴都拿到了结果,甚至有月入过万者(小红书短剧单价高,以视频号为主的),我们就进一步进行了筛选,更新了玩法,设置了精英群,入群门槛99元,这也就是亮剑学堂的初期雏形,该说不说收费确实在另外一个角度是非常好的一个决定,虽然少,但是起码是我们彼此见得一个约束,你为知识付费,我为你的付费更加努力的测试项目,你也会为了花了钱而有羁绊,努力去执行拿到结果。
![图片[5]-曾经我也是个失败者!看看我的逆转路程。。。-亮剑学堂](https://www.413huiling.cn/wp-content/themes/zibll/img/thumbnail-lg.svg)
好了,继续分享下去。
任何项目都是有发展阶段的,有野蛮生长期,也就是我们所说的蓝海红利,也有收尾期也就是红海,短剧推广也是,随时平台越来越严格,趋势使然,肯定会淘汰一大部分人,同时也能造就一部分人,淘汰的自然是我上面说到的,不愿意学习+没有执行力+不能坚持的这类人,这类人不仅仅是在短剧项目上拿不到结果,在任何项目上都拿不到,所以我最终选择抛弃这部分人,结束我第一阶段免费教学的模式,相当于给自己短剧项目画上一个句号,上面大家也可以看到单单一个短剧项目给我不到半年带来的盈利。
所以说,互联网上大家人人平等,拼的就是一个敢想,敢干,去干!
这一路走来, 我明白了一个道理,互联网的终点站就是卖项目,做项目真的太累了,花了钱还浪费时间跟精力,最后还很难拿到结果,但是卖项目比自己做项目要赚得多的多(那些大割们卖你一个项目就赚你大几百,几千,而你还在傻傻的操作那个项目,累死累活一天赚几块钱,好一点一天赚几十,是不是这个道理),而且卖项目是个长期可持续的项目,能够让你长期立足于互联网,不用担心三天饿两顿,不用担心这个项目黄了,下个项目我要做什么。
现在网赚圈普遍存在一个现象:几乎99%的人都被割过韭菜,普通人做项目,赚钱越来越难,各种网赚项目更新速度太快了 ,有的项目几天就死了,长久的能搞几个月,做项目累死累活一天赚个几百。反而卖项目、搞培训的从来不换项目一直在搞,赚得盆满钵满,到了年底都是提豪车就是买豪宅。
建立亮剑学堂的初衷
从万人团队免费教学的模式中,我深刻的了解到,赚不到钱的人往往是没有执行力+没有约束力。
所以从今年2月份开始,我创建了【亮剑学堂 】付费会员模式,同时也不再局限于单个项目,而是多个项目进行陪跑,付费会员制让大家有较强的约束力+执行力,多个项目能够让大家选择一个适合自己的并且拿到结果,打破信息差,从此不再被割韭菜。
由此我经历过这些形形色色的人,想在互联网上赚钱的人,我有以下几点建议要给你们:
-
免费的不一定没有价值,付费的也不一定有免费的好,价值往往更大取决于自身
-
免费的教学以及项目,想要做好的最大核心是,自己必须要有赚钱的欲望+超强的自我约束+执行
-
互联网副业项目不是天上掉馅饼,不可能不学习 不执行就能拿到结果 除非你是运气之子
-
单个项目不一定适合你,但是我们最不缺的就是时间和精力,多去尝试,多去执行
-
始终要保持一颗学习的心,不断的学习,不断的进步,才能成长,走的更长远
80%的人则永远被那剩下的20%操控着,你们所接触到的项目和信息都是被那20%的人精心包装出来的。你们所看到的,都是那20%的人想让你们看到的。如果你真的想靠实实在在自己做项目赚钱,我劝你趁早退出这个圈子。
说这些话可能有些不好听,但却是非常真实的。你可以想一想,你做过的那些项目中,有几个能真正赚到钱或者赚回学费的?
那么,我们应该如何跨越这道鸿沟,成为那20%的人呢?
我要说明的是:首先先把韭菜思维忘掉。韭菜思维认为,我没赚到钱是因为没找到好项目,如果我找到一个好项目,埋头苦干就一定能赚到钱。
我相信看到这篇文章的大部分人都被割过韭菜,剩下的一小部分可能是刚接触互联网的小白,但被割韭菜也只是时间问题。
你可以仔细回想一下被割韭菜的经历,整个流程中收益最大的人是谁?是一个星期赚不了100块钱的你,还是卖一个项目就赚你钱的人。
其实不是你不行,是你操作的那个项目根本不行,你根本看不明白他们的变现逻辑是什么吗?他们不是靠做项目赚钱,是靠卖你一个项目收费大几百几千!
第一种是小白:看到那种暴力无脑复制黏贴,轻松日入XXX,交了钱,100%赚钱,他们看到这样子的项目就好像在沙漠里面发现绿洲一样,无论付出代价都要搞过来做一做,觉得只要搞过来就可以不用上班在家躺着赚钱了。有这样子想法的人真不在少数,那么被割韭菜的几率也是100%
第二种就是:觉得要你交钱的都是割韭菜的,不接受付费,所以他们在网上各种找项目,觉得合适的就去尝试一下,几天下来发现没效果,在去试别的项目。这样子很长一段时间,都是在网上找项目,尝试项目,在找项目中度过的。最后自己感觉就是网上的赚钱项目根本赚不到钱,都是骗人的,只能老老实实去上班了。
千万不把要时间,费浪在摸自我索的过程。自我摸索其实是最浪时费间,并且很拿难到果结的,一个项目真正是否能落地,可能有几十个细节和要点。我一直付认为费学习,是快最拿结果的。因为成功的经验验,都别是人花大了的量时间,和金钱践实出来的。一个细节点,你自己要摸索好久,但有经验的人,几句话就能帮你点透,而你要只需花一点小钱可以得到。免费的不仅让费你浪大量的时和间精力,最后还磨会你灭的信心。
大家也可能做过很多项目,无论你是大咖,还是小白,都要有一颗持之以恒的心,没有一夜暴富的项目,大家不要做梦,一定要脚踏实地的去做,只有努力了才会有结果,所以大家一定要保持一个好的心态,持之以恒,选好一个项目,一直坚持努力的做下去,才会得到你想要的结果,成功不是一蹴而就,而是慢慢积累起来的。想要赚大钱一定是要做有积累的事情。
如果你想在互联网创业,那么最主要的问题,你首先是要去找项目,外面的项目琳琅满目,动不动都是大几百,几千的项目,最后能不能赚到钱还是个问题,好的项目都是别人做烂了的才放出,肉都被吃完了,到最后我们只能喝点汤,有时候可能连汤都喝不上。
说到这里你应该不会在去傻傻的去做项目了吧,应该都明白互联网项目的终点站就是卖项目!
那应该如何去卖项目呢?我们不要去跟那些大割们一样把某一个项目进行包装,他们自己都很难拿到结果的项目,然后拿出来卖,去割别人大几百,几千,那真是丧良心。
第一,拼多多无货源电商,有人跟我说过他做多多无货源电商的经历,免费教学,他们宣传说是赚供应链的钱,你只需要负责售后,他们帮你发货,帮你上品,推广需要你自己花钱,开店第一天就给你上推广,卖的是榴莲,推广花了3000多,出了900多单,发了17000多的货,结果700多单退款的,才收回来3800,后来要求退钱,就开始扯皮,要求这要求那,真是踩大坑了,所以,要记住免费的往往就是最贵的!
第二,抖音无人直播带货,抖音目前是抵制无人直播带货的,你对着平台干,你能赚钱吗,竟然还有人相信别人有这个技术让你的号不违规,不下播,有多少号给你封多少号,最后的结果就是钱打水漂,所以,对抗平台的项目不要去碰
第三,游戏搬砖,广告词大多数都是,免费教学,简单轻松,日赚500+,有电脑就能做,有手机就能做,对外宣称单机月入大几千,甚至过万,游戏材料包回收,好像你只需要配上几台电脑,就能月入十几万,年入几百万,老板对你很热情也是免费教你,开始随便给你点甜头,然后引导你手动太慢了 ,要你买脚本,一个脚本几百块,脚本不单卖,要买就买几个月的,一顿给你忽悠,让你觉得买完脚本你就要发财了,你一次性买个6个脚本买完脚本你就上当了,号全给干没了,你去找老板,老板说你操作不对,让你继续买脚本,哈哈
第四,短视频,图文带货,短视频确实成就了不少人,但是做过带货的伙伴应该都知道,这玩意普通人根本干不了,一个月能出一单就烧高香了,当然不是说带货不挣钱,而是打着教你做带货的一定不挣钱,认清形势,凭什么你交几千块就能让你带货赚几十万?
第五,中视频计划,大人,时代变了+,抖儿子给脸不要脸,工作室账号成本一个300打底,个人去做时间投入成本跟回报不成正比。当然做还是能做的,付费学习就算了!找个知识分享赛道或者科技知识赛道干就行了,影视解说洗洗睡吧。
如果你手里真正有靠谱稳定的项目,那确实可以拿出来卖,把你的经验跟方法教给别人,收别人学费,那也是你应该得到的,如果想学那些大割们,靠割韭菜发家致富,劝你还是算了吧。
做人还是要有良心,有初心的。
说下我是如何去卖项目的吧,我卖的并不是某一个项目,而是做的自己的网创项目资源整合站(亮剑学堂资源库)
网站目前更新1W+互联网项目,每天都在持续更新全网火爆风口的项目,很多都是外面卖几百几千的项目,有的甚至不止,但我们这个平台上面全部课程加起来才卖99,单课程卖9.9,如果你是单纯的想做项目,可以开个99的网站会员,看到好的项目可以自己去试一试,试错成本会很低啊,所以对有需要的人来说是很值的,可以减少你的信息差,杜绝被割韭菜的风险!(网站里面的项目大家也要理性看待,做网站的初衷是:杜绝割韭菜,减少试错成本。任何项目都不可能适合所有人,好的项目也不是每个人都能够做好,教程只能说给你提供一个思路跟方向,不是说你看了资料就能马上挣钱,任何项目都有人挣钱,挣多挣少全靠自己本事,教程只是告诉你这个项目的存在以及如何操作,仅此而已)
并且我们学堂有独立的项目可以做,有非常正向的社群,目前社群正在逐渐壮大,项目持续在更新,主要做今日头条和影视发布赚取收益,都得到了不错的效果。
亮剑学堂是一门专注于网创副业项目的学习社群,致力于打破互联网信息差,让想在互联网上做副业兼职的小伙伴们都能实现自己的期待。
所有项目都是我们自己实际操作过才会推荐给大家,也哦都市有拿到结果的,不是网上搜刮一堆引流教程就随便乱发。学堂创立社群旨在帮助学员掌握实战技能,让大家在实践中掌握越来越多的技能,同时打造高效的项目陪跑体系。
在这里,你将学习到最新、最全面的项目资源,涵盖市面上几乎所有热门的项目类型。那些网上宣传的天花乱坠的项目,收费3980、单项目998的,在我们这里绝对的性价比超群,打破的就是这些信息差,让你们都知道底层逻辑是什么。
亮剑学堂通过系统化的课程内容和实操指导,帮助学员提升运营能力,实现项目的快速落地与成功。我们的目标是让每一位学员都能像亮剑一样,拥有战斗的勇气与策略,激发无限潜能。
加入亮剑学堂,不仅可以获得丰富的信息资源,还可以与行业内的实战高手交流经验,共同成长。
第一、我看好卖项目这个赛道,但是我不想当大割,单课程卖9.9,开通网站会员298/年费,资料少的时候卖99,即可全站资料免费学习,这个性价比很高吧,你因为一个信息差被割的可不止这一点,了解底层逻辑,避免被割,这很重要。
第二、需求群体庞大,以后网络会越来越发达,想网上赚钱的人会越来越多,那些想在互联网赚钱的的人都是我们的客户,平台有很多他们需要引流的课程,抖音,自媒体课程,以及各种互联网赚钱的项目,换句话说只要是想要网络赚钱的人都是我们的目标用户。
第三、稳定,能够让我长期立足于互联网,不用担心这个项目黄了,又要花时间去找下一个项目
第四 、不跟我以前做项目一样,需要买一堆设备,下载一堆软件,进行各种复杂的操作,做项目是真的心累,做过的人应该都知道。
目前我靠自己的网创项目资源站每天收益稳定在1500+,一个月的收入在5W+,选择赛道很重要,我从实体到互联网,明白一个道理,所有的经验积累都是你日后的财富,我虽然实体失败,但是我成功过,经历过,得到过,现在我依旧没有失去,我从免费教学到付费教学再到培养合伙人,我依旧可以很自信的说我没有做亏心事,每个学员和合伙人都是我用心交付,没有团队比我们用心了,我们甚至可以让学员随意对比,我们不说假大空的话,也不夸张说能带你赚多少,就是一个问心无愧,让你在主业+副业上更加的自由。
可能你觉得我是在吹牛,这个并不重要,我在互联网摸爬滚打8年时间,交过的学费,走过的弯路,吃过的苦,只有自己知道。
我当初做互联网只想着能解决下温饱问题,1天赚1万什么概念?我以前上班一个月才5000,一天时间就赚了我两个月的工资,所以说互联网有无限可能,但是你要去干,路都是走出来的,干了才有希望,不干一点希望都没有。
除了这些就是我们的学堂项目,也是我的一大支柱,我也是付出了很多的心血,我的合作小伙伴也一样。
如果你觉得我这个模式可行,可以加盟,费用也不贵,就是你出去请客吃一顿饭的钱,就可以搭建一个跟我一摸一样的网站,1:1复制我的模式
我这套模式,入门门槛低,不管是个人还是团队,都可以操作。如果你不想认命,那你不如在互联网闯一闯,用小钱挣大钱,还是那句话,在互联网做项目不如卖项目,卖项目才是最赚钱的项目。
人生敢闯才有机会,敢拼才有未来, 干了才有希望,不干一点希望都没有!自己一个翻盘的机会!!!在自己能够给承受的范围内,一定要多去尝试,敢于尝试要比别人多出许多成功的机会,像我从来都不是一个拖拖拉拉磨磨唧唧的人,只要我想做某件事,在我能力范围内,我立马就会去做。
加盟商就是帮你搭建一个和亮剑学堂一样的知识付费网站平台,我教你做网站赚钱,网站是你自己的域名服务器,接入的是你自己的收款,你自己就是站长,就是平台老板,网站所有联系方式都改成你的 ,独立运营,网站所有的利润都是你的。
我会把我做网站的经验、怎么搭建网站的、怎么对接支付收款的、怎么去引流的都会全部教会你,都有非常详细的课程讲解,就算你只有小学文凭也都能看懂,不懂的也可以随时问我,或者请教加盟商群里面的伙伴们,相信他们会很愿意分享他们的经验!
下面是我自己录制的一套完整课程

1,一对一扶持搭建网站(电脑版 手机版 公众号指导)
2,市面主流支付端口全部都有,对接支付(包上线)
3,全网资源更新速度最快,项目最新,资料最全!工具一键同步更新
4,特供第一手无水印资源(放自己的引流信息),让你立足于不败之地!吸粉引流超给力!每天更新!
5,网站自带1万套课程数据,加盟后数据库直接导入你的网站,直接开始运营赚钱,免去前期资源更新烦恼!
6,后期最新资源和技术方法同步更新
7,提供原创引流技术,主动引流+被动引流渠道
8,拥有网站的所有权,完全独立,自主管理,自主收款,所有收益归加盟商!
9,提供永久售后一对一运营指导,加盟商交流群
10、加盟网站可获得亮剑学堂今日头条及影视发布教程,多一份收益,有时候不比网站差!
我们可以直接把成熟的网课系统和运营经验复制给你,整站数据库导给你。
你把节省的时间,可以去找流量,去做成交,后面给你带来的客户,很快回本了。
找一个稳定、靠谱、有结果的人带你,这是入行最快的方式!
1、卖VIP会员:价格可以在后台自由设置,VIP会员设置298、398、498不等,一天卖一两个就是几百块,后期积累用户多了,收益只会越来越高。
2、卖单课:每个课程都可以设置价格,网站课程1万+
3、招网站加盟商:你可以打造自己的网站品牌,自己去收加盟,收多少价格自己定
4、做培训:网络培训衍生线下培训,都是高收入来源!
做知识付费虚拟课程资源站,后期没任何成本,全部都是纯利润!(知识付费行业未来会越来越吃香,对此我深有体会,一个月入5万+ 的机会摆在这里!知识付费普通人逆袭的唯一希望,早明白早挣钱)
不做任何收益保障,想要收益有保障的去找那些大割们,我只能承诺把我自己花了很长时间,踩过很多坑,摸索出来的做网站的经验和方法毫无保留的教给你,跟着有经验,有结果的人学习,会让你少走很多弯路,少踩很多坑,也比那些自己摸索的人更快的拿到结果!
方法告诉你了,赚多赚少与自己个人执行力有关,努力干一个人一年在家赚50万+,三天打鱼两天晒网的,这种人不要来浪费时间了!能拿到结果的前提一定是要去干,你不去干,那一切都是0,我也救不了你啊!
全程一对一服务,包教包会,后续有任何问题都会给你解决!在我这里绝对不会出现交钱不管事的情况,这个我是可以100%保证的,因为我也是从很难的时候走过来的,非常理解大家的不容易。
06.有人又会想,我要怎么把项目卖出去呢?最核心的无非就是引流(重点,这个是重中之重,没有流量一切都是空谈)
那么网站搭建好之后,肯定要去推广引流找精准用户吧(互联网创业,副业粉),不然你在好的东西没人知道也要烂在手里,当初做网站的时候,我觉得引流应该很简单吧,因为现在大环境不好,生活压力变大,很多人都想在互联网赚钱寻找副业(给自己多一份收入)或者创业(在互联网创业可以说成本是最低的还自由,比如我就比较喜欢自由,呆在家一台电脑,一台手机就能把钱赚,自己当老板,平时想干嘛就干嘛,出去玩带台手机也不耽误赚钱,也不用为了钱还得给别人低三下四, 看别人眼色),没想到最大的难点是在引流,导致我在引流这块下了很大的功夫!
因为我之前一直做项目,对推广引流这方面,完全是一片空白,网站开发到上线我才用了不到1个月的时间,但是引流足足花了我两个月的时间才稳定下来,前面两个月基本上每天要花10多个小时去研究引流。
说说我艰难的引流之路吧(引流让我付出了相当大的时间成本,一般都是研究到凌晨三点才休息)
都说同行是最好的老师,一点都没错(现在外面很多人都在模仿我)那就各大平台找对标账号,学习那些卖项目的大割是怎么引流的。
在引流上面我踩了很多坑,走过很多弯路,花了很多不必要花的钱,对我来说这也是一种成长,人生没有白走的路,走的每一步都算数,我不会放弃,我不服输,我看好这个赛道,我就要把他做好。经过长时间的摸索,我终于研究出了适合我自己的六套引流方案,每天只需要一两个小时就能搞定,我目前能保持每天精准粉80+(这套方法同样也适合每一个普通人),解决的了别人解决不了的问题就能赚的了别人赚不了的钱
那么做引流,我有三不做
第一,会封号的不做,做引流最重要的就是不封号,所以我不玩废号流,好比你辛辛苦苦经营的几个月的账号,好不容易流量起来了,结果号封了,你又要重新花时间起号,那你不就是又断流了吗,所以做流量一定是要稳定,不要这顿吃饱了,下一顿还还不知道在哪!
第二,太费时间的不做
第三,要动脑写文案的不做(我想大家真的也没那么多的精力和时间)
引流之路我从来没有停止过,一直在尝试研究新的方法,只要找到一个可行的方案,那么我就会放大矩阵去做,只要你去做好一个,那么你就不会缺流量
如果你也看到卖项目这个赛道,那我会把我的经验和方法毫无保留的教给你,让你少走弯路,少踩坑,这就是付费的意义,花钱没别人的经验和方法,就是成功最快的途径

想从事互联网行业,想和我一样立足网络,在网上拥有自己的地盘!但缺少资源,缺少技术,缺少经验的人!通过自己的努力,改变现状逆风翻盘。三天打鱼两三晒网的不要来浪费时间。
人生敢闯才有机会,敢拼才有未来,不苦不累人生无味,不拼不博人生白活,好好干翻身,干不好大不了继续进厂打螺丝,每个人都要给自己拼搏一次的机会!
是不是割韭菜?
不存在割韭菜一说,主要是教你如何去引流做网站,只要你学会精准引流,以后在互联网不愁混不下去,所学到的东西价值远远超过你交的费用,花钱学习别人的经验跟方法付费是理所应当。不是教你做项目,8年互联网全职经验告诉你,花钱学做项目90%要被割韭菜,不信你可以去试试?
能看到这,说明你对这个项目是感兴趣的,多的也不说了,如果你有执行力,每天能挤出半小时至一小时左右的时间,闭眼加入就行。不存在什么割韭菜一说!
简单一句话,我是怎么做的,你就1:1跟着我说的去做,按照我说的方法,保证可以做出效果!记住这是踏踏实实做项目,带着你,我们一起搞钱。
网赚圈赚钱的秘籍就是卖项目,搞培训,早领悟早赚钱,一个人一台手机搞的牛逼月入10万+,如果你还不明白,还在到处瞎找项目,去买项目基本上是浪费时间,当韭菜,做互联网这么多年深有感触!
考虑清楚在上车,虚拟项目不支持退款!考虑充分,有耐心和执行力,拒绝三分钟热度,非短期项目不同于做网赚项目见效快死得也快,做站长追求的是长期稳定的事业,靠积累,需沉淀,不过时,做的时间越久收入越高!网站既可以当主业做也可以当一个副业去做。
价格绝对良心,你去外面学个煎饼果子都要花几千块,相对于实体,互联网创业投资成本低的不能在低了,很多人做实体投资大几万,几十万最后赔的血本无归,我们要用最小的成本去挑战最大的希望,做互联网做大的好处就是,既能在家挣米,又能同时兼顾家人,不用在去外面东奔西跑了,这对我来说深有体会
内容包含:
1、一对一扶持搭建同款网站
2、自动更新(每天自动同步更新到你的网站)
3、对接支付端口(微信,支付宝)
4、无水印课程
5、网站源码(自带1万+课程数据)
6、拥有网站的所有权,完全独立,自主管理,自主收款,所有收益归全归你!
7、服务时间24个月
8、提供整套网站运营方案(1:1复制我的模式,全套方法复制给你,你只需要跟着我的脚步一步一步走)
9、自用独家推广引流方案(长期稳定,不封号玩法,非市面上常见的废号流)
我花了大量时间总结和踩坑,引流这东西我不晓得花了多少钱,整理出来的最适合普通人做的六种引流方案,六种引流渠道同时进行,被动加人,绝非烂大街技术,前期日引50+精准创业粉,转化率极高,每天需要拿出1到两个小时去执行,这点时间都拿不出来的不要来找我了。(能解决别人解决不了的问题,你就能赚别人赚不到的钱,自古以来的商业模式都是如此)
成年人的世界永远都是价值交换,花钱买别人的经验和方法,自然能让你少走很多弯路,少踩很多坑,这就是成功最快的方法,自己研究看似省钱,但是最后都会体现在其他地方,任何事情,最大的成本就是时间成本,如果有人带着你3天就能解决的事情。千万不要自己摸索3个月!
站长微信:wu4131139 备注网站加盟 按照我的方法去做,一个月内包回本 如果频繁添加不上加QQ:562434716
1、磨磨唧唧的千万别来,这种人只适合打工,不适合创业
2、维持不住生活的别来,我不想做你的救命稻草
3、想交钱暴富的千万别来
4、怕失败的别来,这种人也只适合打工(不用投资,老板还给你钱)
5、没有执行力的(拒绝空想家)
6、没耐心看不懂这篇文章的不要咨询,看不懂我也救不了你
最后,感谢网站和社群小伙伴愿意相信我们,加入我们,我们以后一定会努力测试更多的好项目来给大家“玩”。
我们一起努力,一起成长,一起做大做强,再次感谢每一位愿意付费的小伙伴!
------本页内容已结束,喜欢请分享------
感谢您的来访,获取更多精彩文章请收藏本站。